山东罗茨鼓风机的密封形式
一、前言
我们用到的山东罗茨鼓风机的常见密封包括填料,膨胀环胀圈,迷宫式、机械密封等,应主要根据气体的性质(是否有毒,是否与润滑油接触,易燃或易燃,纯净清洁)选择使用哪种类型的密封。随着罗茨鼓风机的不断改进和在实践中得到的实战总结,现在迷宫密封和填料密封普遍用于山东罗茨鼓风机中,下面简单介绍一下两种密封。
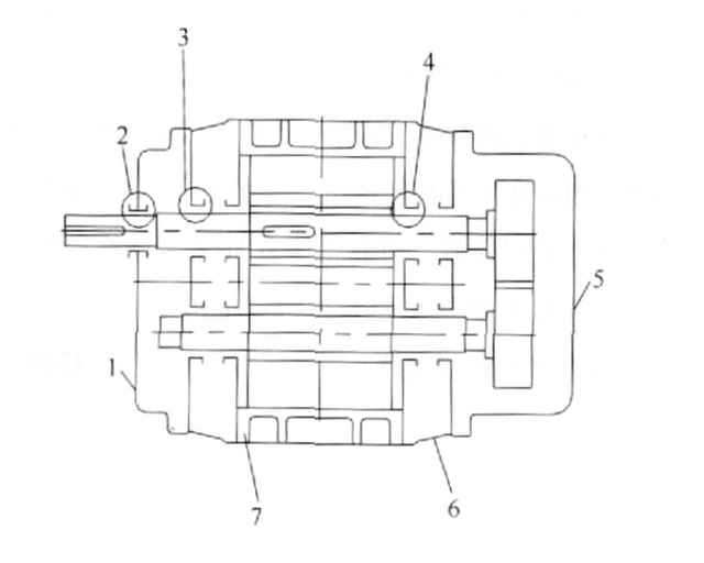
二、密封图示
1.副油箱 2.主动轴轴伸密封 3.轴承座尾部油密封
4.墙板部轴密封 5.主油箱 6.墙板 7.机壳

三、迷宫密封
是利用流体流经一系列节流间隙与膨胀空腔组成的通道,使工作介质产生节流效应,以限制泄漏的非接触式动密封。山东罗茨鼓风机的墙板部轴密封广泛采用迷宫密封。其密封机理可简单解释为,流体经过许多
曲曲折折的通道,经多次节流而产生很大阻力,使流体难于渗漏,从而达到密封目的。其优点是不受转速和温度的限制,结构简单,维修方便,使用寿命长。适当地增加密封齿数目,可用于高压气体的密封;如果密封件加工和组合良好,在运行中,一般不会出故障,也不需要经常更换。其缺点主要是密封零件加工精度要求高。由于密封间隙小,当机器运转不良时会发生摩擦磨损,从而降低密封性能。该种密封一般适用于输送空气的场合,在输送有毒、易燃和易爆气体时,其使用受到限制。标准型罗茨鼓风机墙板部密封一般采用该种形式的密封。迷宫密封是用于最广泛的一种,也是最简单的一种,能在山东罗茨鼓风机密封结构中占据60%的份额。主要应用于:水产养殖的增氧、污水处理的曝气、脱硫脱硝氧化、气力输送、物料输送、铸造、炼钢的助燃等很多的工业系统中。
四、填料密封
在填料密封的山东罗茨鼓风机的整个过程中,当轴和填料发生相对运动时,鉴于填料的可塑性,它会产生径向力并紧密接触轴。填料密封剂浸渍在填料中的润滑剂在接触表面之间产生油膜,并且接触位置产生“边界润滑”状态。在非接触凹部中形成小油槽,该油槽具有相对厚的油膜。接触位置和非接触位置结合形成不规则的迷宫,具有防止流体泄漏的作用。
1密封填料具有相应的弹性,在按压力的作用下会产生相应的径向力并紧密接触轴,具有良好的密封性能。它可以是一种动态装置,可以根据预紧或中等压力的自紧作用使填料和旋转部件以及固定部件产生按压力。

2,填料的化学稳定性较好,不被介质溶胀,浸渍剂不被介质溶解,无腐蚀作用。填料密封自润滑性能更好。耐磨性和低摩擦系数。如果罗茨鼓风机轴的偏心率较小,则填充物应具有足够的浮动弹性,以防止摩擦并导致设备故障。包装,密封原料生产简单明了,灌装方便,简洁。
在输送易燃易爆防止泄露的特殊气体现在一般是采用填料密封的山东罗茨鼓风机,主要应用的行业:煤气增压、天然气体的输送、二氧化硫的输送、甲烷气体的输送等特殊行业的输送。
以上是山东罗茨鼓风机最常见的2中密封的形式,大家要根据自己的行业和系统的要求来选择适合自己一款罗茨鼓风机,如果有不明白的地方可以咨询一下我公司客服,我们会耐心的为您解答。由于时间有限这次只能介绍这2中形式,在以后的时间小编会给大家介绍一下其他的几种密封的形式,敬请大家关注本网站。
山东罗茨鼓风机的密封形式:http://www.fengji66.cn/xw/103.html


